破纪录!王文杰1小时01分15秒,刷新中国马拉松半马纪录
朱婷18分助队取胜!意甲女排联赛总决赛首回合:科内3-2险胜米兰
惨遭9连鞭!王信伯2-10不敌前世锦赛冠军宾汉姆,无缘世锦赛48强
范争一10-3蓝裕豪赢下内战,晋级斯诺克世锦赛80强
姚朋成3-10不敌亚伦·希尔,无缘世锦赛48强
周跃龙10-3击败麦圭根,晋级斯诺克世锦赛48强

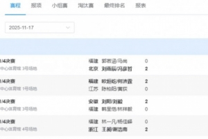
体育资讯11月17日讯 全运会羽毛球男双四分之一决赛全部结束,刘雨辰/冯彦哲、刘阳/刘毅、欧烜屹/何济霆、王昶/谢浩南四队选手挺进四强。
男双半决赛对阵情况如下:
刘雨辰/冯彦哲 VS 刘阳/刘毅
欧烜屹/何济霆 VS 王昶/谢浩南
男双四分之一决赛比分详情:
刘雨辰/冯彦哲2-0郭若涵/马尚
欧烜屹/何济霆2-0陈柏阳/黄荻
刘阳/刘毅2-0刘阳/刘毅
王昶/谢浩南2-0林一凡/杨佳峄